
WGT鼓形齒式聯軸器 特點及應用場合:具有少量軸線偏移補償性能,不能緩沖、減振。外形尺寸小,理論上傳遞轉矩大,需要潤滑、密封,但噪聲較大、價格貴,用于聯接水平兩同軸線軸系傳動。用于低速、重載工況條件下聯接水平兩同軸線,如冶金機械、重型機械等。不適用于軸系傳動,起動頻繁、正反轉多變的工況不宜采用。
WG型--基本型;
WGP型--帶制動盤型,適用于與點盤式制動器配套;
WGZ型--帶制動輪型,適用于與瓦塊式制動器配套;
WGT型--接中間套型,適用于兩軸長距離聯接,許用轉速[n]取決于中間套的長度和質量,并應驗算臨界轉速;
WGC型--垂直安裝型,用于聯接垂直的兩軸線軸系傳動;
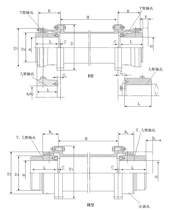
I型--密封端蓋為分離型,齒間距較大,可以允許較大的徑向位移,可與Y、J1、Z1型軸伸聯接;
II型--密封端蓋為整體型,齒間距小,相對允許徑向位移小,結構緊湊,轉動慣量小,可與Y、J1型軸伸聯接;

WGT中袖圓筒形齒輪耦合基本參數及主要尺寸:(JB/T 7004-93)mm

電話: 0511-83998589 手機: 13952897281(徐經理) 13952802303(周經理) 18118972615(朱工) 郵箱: sales@zjlianxin.cn 地址: 鎮江市新區丁卯開發區潘宗工業園11號
Copyright ? 鎮江聯鑫聯軸器有限公司 版權所有 蘇ICP備14043855號-2 技術支持:江蘇易潤
專業生產:
